产品分类
VALUE
产品展示
PRODUCTS
|
J61H型 J61Y型 |
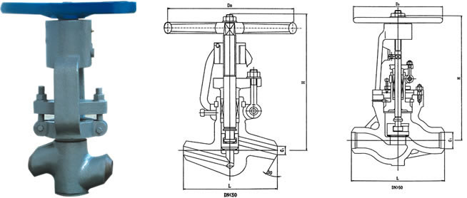
高温高压电站截止阀J61H、J61Y |
PN 100 200 250 320 DN 10~100 |

一、高温高压电站截止阀J61H、J61Y 型产品用途
J61H、J61Y 型 PN200~PN320 高温对接焊电站截止阀适用于公称压力PN200~PN320 及P54/100V-P57/170V ,工作温度≤540℃(其中P57/170V工作温度为570℃)的石油、化工 、水力 、火力电站各种系统的管路中,切断或接通管路介质。
二、高温高压电站截止阀J61H、J61Y 型产品特点
1、阀门中腔采用压力自紧式密封结构,密封性能越好。支管两端为焊接结构。焊接坡口可按标准或用户要求配接
2、阀瓣、阀座的密封面采用司太立钴基硬质合金堆焊而成,耐磨、耐高温,抗擦伤性能好、使用寿命长
3、阀杆经调质和表面氮化处理,有良好的搞腐蚀性和抗擦伤性。
4、阀盖填料函深度合理,填料加缓蚀剂,密封可靠
三、高温高压电站截止阀J61H、J61Y 型产品特点主要性能规范
| 主要性能规范:Main Technical Data | ||||||||
| 产品类型 type |
公称压力PN (MPa) |
试脸压力(MPa) testing pressure | 工作压力 working pressure | 工作温度(℃) working temp |
适用介质 applicable medium |
|||
| 壳体强度 shelt | 密封 seat |
P54 | P55 | P57 | ||||
| J61H-100 J61Y-100 |
10 | 15 | 11 | ≤450 ≤540 |
水、蒸汽、油品 steam、water、oil |
|||
| J61H-200 J61Y-200 |
20 | 30 | 22 | |||||
| J61H-250 J61Y-250 |
25 | 38 | 28 | |||||
| J61H-320 J61Y-320 |
32 | 48 | 36 | |||||
| J61Y-P54100V | 30 | 22 | 10 | 蒸汽 steam |
||||
| J61Y-P54100V | 38 | 28 | 14 | |||||
| J61Y-P54100V | 48 | 36 | 17 | |||||
| J61Y-P55100V | 38 | 28 | 10 | ≤555 | ||||
| J61Y-P55100V | 48 | 36 | 14 | 1 | ||||
| J61Y-P55100V | 53 | 39 | 17 | |||||
| J61Y-P57100V | 48 | 36 | 10 | ≤570 | ||||
| J61Y-P57100V | 55 | 40 | 14 | |||||
| J61Y-P57100V | 60 | 44 | 17 | |||||
四、高温高压电站截止阀J61H、J61Y 型主要零部件材料
| 主要零部件材料:Material of main parts | |||||||||
| 零件名称 name of parts |
阀体 body |
阀盖 bonnet |
阀杆 stem |
阀瓣 disc |
密封面 seat ring |
填料 packing |
阀杆螺母 stem nut |
手轮 hand wheel |
紧固件 fastener |
| J6lY 型 | 25 WCB |
25 40Cr |
铬不锈钢 铬钼铝钢氮化 cr.stainess stell |
25 | 硬质合金 carbide alloy steel |
柔性石墨 expanded graphic |
铝青铜 |
可锻铸铁
forgeable |
优质碳钢 铬钼钢 ro、mo、steel |
| J6lY-P54型 J6lY-P55型 J6lY-P57型 |
ZG20CrMoV 12Cr1Mo1V |
12Cr1Mo1V | 20Cr1Mo1VA 25Cr2Mo1VA |
12Cr1Mo1V | 硬质合金 carbide alloy steel |
柔性石墨 expanded graphic |
铝青铜 Al bronle |
可锻铸铁
forgeable |
铬钼钢 steel |
五、高温高压电站截止阀J61H、J61Y 主要外形尺寸及连接尺寸
| 主要外形尺寸及连接尺寸 Main size of Appearance | ||||||||||
| 公称通径DN (mm) | 主要外形尺寸及连接尺寸 (mm) main size of apperance | 重量(kg) weight |
||||||||
| L | D1 | D2 | D3 | a | h | D0 | ||||
|
||||||||||
| 10 | 120 | 12 | 28 | - | 40o | 189 | 140 | 3 | ||
| 15 | 170 | 17 | 4O | - | 40o | 250 | 200 | 9 | ||
| 20 | 170 | 22 | 46 | - | 40o | 252 | 200 | 11 | ||
| 25 | 170 | 26 | 46 | - | 40o | 254 | 240 | 13 | ||
| 32 | 170 | 31 | 49 | - | 40o | 254 | 280 | 17 | ||
| 50(1) | 250 | 50 | 90 | - | 32o | 453 | 320 | 68 | ||
| 50(2) | 350 | 50 | 90 | - | 32o | 455 | 320 | 72 | ||
| 65 | 430 | 69 | 104 | 115 | 32o | 630 | 400 | 83 | ||
| 80 | 470 | 84 | 110 | 140 | 32o | 672 | 450 | 118 | ||
| 100 | 560 | 107 | 148 | 170 | 32o | 76l | 500 | 185 | ||